Macchina per l'iniezione di grassoe di cuscinetto sigillatorendere il processo di iniezione del grasso completamente automatico e facile da usare.
La quantità di grasso aggiunta al cuscinetto sigillato è generalmente 1/5-1/2 della cavità del cuscinetto. È impossibile garantire l'esatta quantità di grasso mediante ingrassaggio manuale, la manodopera è elevata e l'efficienza è bassa. Il grasso aggiunto non entra nel canale ma rimane sulla gabbia. Il diametro esterno, la superficie frontale e il diametro interno del cuscinetto dopo l'ingrassaggio sono riempiti di grasso. Ora viene adottata la macchina per l'iniezione di grasso come mostrato nella Figura 1, in modo che l'iniezione di grasso sia automatizzata e la velocità di iniezione del grasso sia fino a 15 set / min. Questo documento introduce brevemente il principio di funzionamento della macchina e dei suoi componenti chiave (il principio strutturale del cilindro dosatore di iniezione del grasso e il progetto strutturale della testa di iniezione del grasso).
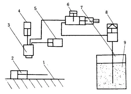
Fig. 1 Diagramma schematico della macchina per l'iniezione di grasso
1. Scivolo 2. Cilindro di spinta 3. Testata iniezione grasso 4. Cilindro testata iniezione grasso 5. Cilindro di traslazione 6. Cilindro dosatore iniezione grasso 7. Cilindro stoccaggio grasso 8. Pompa grasso 9. Premistoppa
1.Principio di funzionamento della macchina per l'iniezione di grasso
Il processo di lavoro della macchina per l'iniezione di grasso è il seguente: il cilindro di spinta 2 spinge il cuscinetto nella posizione di lavoro (direttamente sotto la testa di iniezione del grasso 3) e lo posiziona inizialmente sul blocco a forma di V del deflettore del canale del materiale. Il cilindro di spinta 2 ritorna nella posizione originale, il cilindro di iniezione del grasso 4 scende e posiziona con precisione il cuscinetto. Contemporaneamente, il cilindro di trasposizione dell'iniezione di grasso 5 spinge in rotazione la testa di iniezione del grasso 3, in modo da allinearsi automaticamente e far coincidere l'ugello di iniezione del grasso con la gabbia del cuscinetto. In caso contrario, il cilindro 4 della testa di iniezione del grasso si alza e si abbassa nuovamente fino a coincidere. Il cilindro dosatore 6 agisce per completare un'iniezione di grasso, il cilindro della testa di iniezione del grasso 4 sale, il cilindro di traslazione della testa di iniezione del grasso 5 ritorna, e il cilindro di spinta 2 spinge il materiale per iniziare il ciclo di lavoro successivo.
Il grasso lubrificante nel serbatoio di stoccaggio del grasso 7 viene immesso nel cilindro dosatore 6 attraverso la pompa per grasso 8 e viene accuratamente misurato (regolabile) nella testa di iniezione del grasso 3 attraverso il cilindro dosatore per realizzare un'iniezione di grasso accurata.
La pompa del grasso 8 della macchina è applicabile al barile di stoccaggio del grasso con capacità di 180 L e 16 L, cioè barile di petrolio grande standard e barile di petrolio piccolo. Può anche utilizzare direttamente il barile di grasso acquistato come barile di stoccaggio del grasso. Dopo che un barile di grasso è esaurito, basta estrarre la pompa del grasso e metterla in un altro barile pieno di grasso. Non è necessario aggiungere grasso al serbatoio di stoccaggio del grasso, che evita completamente la miscelazione dell'aria durante l'aggiunta di grasso e il guasto del cilindro dosatore, in modo da garantire la pulizia del grasso e l'accuratezza dell'iniezione del grasso.
2.Principio costruttivo del cilindro dosatore ad iniezione di grasso
Il cilindro dosatore di grasso è mostrato nella Figura 2. È la chiave per realizzare l'iniezione quantitativa di grasso. Nella figura, il foro A è collegato alla pompa del grasso e il foro B è collegato alla testa di iniezione del grasso. Il suo principio di funzionamento è il seguente:
Fig. 2 Rappresentazione schematica del cilindro dosatore
1. Blocco cilindri dosatore 2. Pistone cilindro 3. Cilindro dosatore
4. Blocco cilindri 5. Vite di regolazione 6. Volantino di regolazione
Quando il pistone 2 del cilindro pilota è nella posizione mostrata nella Figura 2, il grasso lubrificante pressurizzato entra nella camera sinistra del cilindro di iniezione e dosaggio del grasso 3 attraverso il foro a attraverso la pompa del grasso per vincere la resistenza della molla. Poiché lo stelo del pistone si trova sotto il limite della vite di regolazione destra 5, il volume (immagazzinamento del grasso) della camera sinistra del cilindro di iniezione e dosaggio del grasso è certo. Durante l'iniezione del grasso, il cilindro pilota agisce e il pistone 2 si solleva, in modo che la camera sinistra del cilindro dosatore dell'iniezione del grasso 3 sia collegata con il foro di uscita del grasso B. la camera sinistra del cilindro dell'iniezione del grasso 3 è in pressione. Sotto l'azione della propria pressione e della forza elastica della molla nella camera destra, il grasso lubrificante viene rapidamente spruzzato nel foro B e iniettato nel cuscinetto attraverso la testa di iniezione del grasso per completare un'azione di iniezione del grasso. Sotto il controllo del cilindro pilota, è possibile eseguire ripetuti dosaggi e iniezioni di grasso.
Per diversi tipi di cuscinetti e requisiti speciali degli utenti, la posizione della vite di regolazione può essere modificata regolando il volantino 6, ovvero è possibile modificare il volume (immagazzinamento del grasso) della cavità sinistra del cilindro dosatore dell'iniezione di grasso, in modo da soddisfare i requisiti di diverse iniezioni di grasso.
3.Progettazione della struttura della testa di iniezione del grasso
La testa di iniezione del grasso è la chiave per realizzare l'iniezione precisa e uniforme di grasso sul canale del cuscinetto. La struttura della testa di iniezione del grasso è mostrata nella Figura 3. La forma della parte inferiore dell'ugello del grasso è coerente con la mezza gabbia del cuscinetto, che è conveniente per la parte inferiore dell'ugello del grasso estendersi tra gli anelli interno ed esterno di il cuscinetto. Avvicinare l'apertura di spruzzatura del grasso alla scanalatura dell'anello esterno del cuscinetto.
Fig. 3 Testa iniezione grasso
(1) La quota di posizionamento D1è preso per garantire il posizionamento accurato del cuscinetto ed evitare un accoppiamento troppo stretto con il diametro interno del cuscinetto per spingere il cuscinetto verso l'alto
D1 =d - (0.1 ~ 0.2)
D - Diametro interno del cuscinetto
(2) Per evitare interferenze con il diametro esterno dell'anello interno, il campo del diametro interno d2dell'ugello di iniezione del grasso è considerato come
d2= D2 più ({{0}}.2~0.4)
D2- Diametro esterno della pista interna del cuscinetto
(3) Per evitare interferenze con il diametro interno dell'anello esterno, prendere il diametro esterno d4dell'ugello di iniezione del grasso
d4= D3 - (0.3~0.4)
D3- Diametro interno dell'anello esterno del cuscinetto
(4) Diametro centrale del foro di iniezione del grasso d3
d3 = (d2più d4) / 2 più 2htg100
H - Altezza ugello iniezione grasso
(5) Diametro esterno della testa di iniezione del grasso d5
D5 = D
D - Diametro esterno del cuscinetto
(6) Diametro interno della testa di iniezione del grasso D1
D1 = D4
(7) Dimensione dell'altezza di posizionamento h per garantire un posizionamento accurato,
H=H '/ 2 più 3
H '- Larghezza del cuscinetto
(8) Altezza dell'ugello di iniezione del grasso h per evitare la collisione tra l'ugello di iniezione del grasso e la gabbia, prendere
h= H '2/-S-H1-0.5
S - Spessore della gabbia,
H '1- Altezza della testa di formazione del rivetto
(9) Numero fori ugelli iniezione grasso N
N = Z
Z - Numero di corpi volventi
(10) Testina iniezione grasso Materiale plastica King
4.Caratteristiche della macchina per l'iniezione di grasso
(1) Il processo di iniezione del grasso è completamente automatico e facile da usare. L'attrezzatura ha solo la testa di iniezione del grasso, quindi è molto conveniente cambiare il modello.
(2) Il circuito dell'olio lubrificante dell'intera macchina è in uno stato chiuso, quindi non è necessario aggiungere grasso al serbatoio di stoccaggio del grasso, che evita la miscelazione dell'aria durante il processo di ingrassaggio, influisce sulla precisione della misurazione e garantisce la pulizia del grasso.
(3) Dopo l'iniezione di grasso, il diametro interno, il diametro esterno e la superficie frontale del cuscinetto sono privi di grasso, puliti e la quantità di iniezione di grasso è molto stabile (l'errore è compreso tra ± 5 percento) e il tasso qualificato è 100 per cento .
Particolare attenzione dovrebbe essere prestata alla selezione. Garantire un ragionevole gioco di servizio per facilitare il normale funzionamento del cuscinetto a rullini e prolungarne la durata. Generalmente, la distanza consigliata è {{0}}.01 ~ 0.02 mm e la distanza totale massima non deve essere maggiore di (0.1-0 .3) d. d è il diametro del rullino. L'adattamento dell'albero è h5 e la rotondità della superficie dell'albero è 0,8um.
5. conclusione
La scelta ragionevole e l'uso del cuscinetto a rulli del motore possono migliorare significativamente l'affidabilità di funzionamento del motore. Per garantire l'affidabilità del progetto, è ancora necessario analizzare e studiare i parametri tecnici del cuscinetto volvente.
Di piùStrumenti WBM:
WBM Company è stata fondata nel 1988, che si trovava nella zona industriale di Lilou, distretto di Luolong, Luoyang, RPC. WBM è un fornitore professionale di strumenti per cuscinetti, tra cuiUtensili per smerigliatrice frontale Modler, Stampi rotanti, Taglia il dado, penna, Coltello tagliato, taglierino, Die principale, Perno di estrazione della matrice principale,e così via. Per gli utensili per cuscinetti, WBM èsicuramente la qualità più professionale e migliore in Cina.
WBM è ora in grado di fornire un set completo di utensili per la linea di rettifica dei rulli conici Modler.Loroattrezzossono ben montati nella smerigliatrice senza centri modler del cliente e nella smerigliatrice frontale modler. E aiuta il cliente a produrre rulli di alta precisione a basso costo.
WBM ha ottenuto i certificati ISO9001:2000 e ISO/IATF16949, l'eccezionale reputazione di WBM si basa sui nostri principi di gestione fondamentali: innovazione tecnica, alta qualità ed efficienza, laboriosità, incontro e oltre le aspettative dei clienti. WBMricambiosnessuno sforzo per creare il massimo valore per i clienti.
